| Parámetro | Valor |
| Referencia Principal | ANTPFI |
| Tipo 1 | Sobreponer |
| Voltaje Alimentación | 12 Vac (estándar) |
| Acabado | Negro |
| Funcionamiento | Inverso |
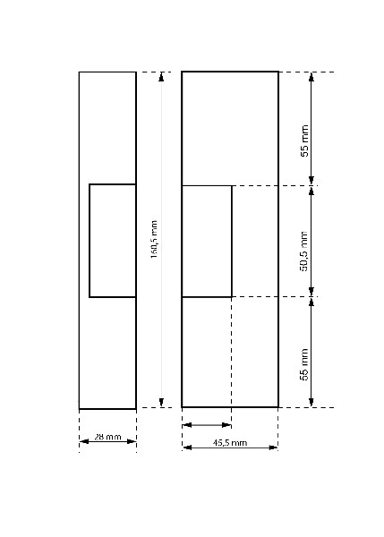
Cerradero eléctrico de sobreponer adaptables a un picaporte de cerradura antipánico.
Se suministran con varios suplementos de un milímetro de grosor o de varios tamaños que permiten su instalación en la práctica totalidad de cerraduras antipánico del mercado.
Reversible (no guarda mano)
Funcionamiento inverso:
– Sin impulso eléctrico : abierto
– Con impulso eléctrico: cerrado
Acabado: Negro
Voltaje: Estándar ( 12 Voltios corriente alterna 12Vac )
También disponible en 12VDC, 24VAC y 24VDC
Este producto no tiene recursos asociados a él
Si esta interesado en este producto pulse el botón de comprar y le reenviaremos a nuestra tienda
ComprarDeja tu Valoración:
Deja un comentario




